专利
建筑建材
各位嘉宾、贵人,如果对以上的“推荐”感兴趣,请阅读之后的《技术白皮书》和《商业计划书》作更深一步了解(详下页)!
在此
表示欢迎!
坎式模板体系主要由“坎式模板”、“锥顶螺母合成螺杆”、“内顶盖”及沿袭和保留了原体系中的钢管、扣件、方档、伞形卡等构件组成。
一、体系主件坎式模板
(一)模板的形态设置
1、正方形坎式边缘:在“平面型”模板(ban)的(de)“外形”基础上,将模板(ban)四条边的(de)“平直”侧面,改造成(cheng)以侧面(mian)(板厚(hou))中心线为界线(板厚 1/2 处),单边(半面(mian))形成带(dai)有“正方形(xing)坎条(tiao)形(xing)状”的模板(与台阶式“企口”相类似)。
2、“坎”的阴阳:当(dang)给模板配制(zhi)一系列规格尺寸(cun)后,将所有比规格尺寸(cun)“凸出(chu)”的“坎”设定为“阳坎(kan)”;“凹进”的“坎(kan)”设(she)定为“阴坎(kan)”。
3、坎式模板的三个类别:当模板宽度两端均为上述所称(cheng)的(de)“阳坎”(比(bi)规格(ge)尺寸凸(tu)出)时,便(bian)称之为“阳板”;两(liang)端均(jun)为(wei)上(shang)述(shu)所称(cheng)(cheng)(cheng)的“阴(yin)(yin)(yin)坎”(比规(gui)格尺寸凹进)时(shi),便称(cheng)(cheng)(cheng)之(zhi)为(wei)“阴(yin)(yin)(yin)板(ban)”;两端(duan)为(wei)一阴(yin)(yin)(yin)一阳“坎”时(shi),便称(cheng)(cheng)(cheng)之(zhi)为(wei)“中板(ban)”(也称(cheng)(cheng)(cheng):阴(yin)(yin)(yin)阳板(ban))。且上(shang)述(shu)三(san)类模板(ban)在高(gao)度方(fang)向的两端(duan)均(jun)设定为(wei)一阴(yin)(yin)(yin)一阳“坎”。(可(ke)参见下图)
附图说明:上图为坎式模板之中的单孔模板,除此之外还有“单排2 孔、3 孔、4 孔”及“双排4 孔、6 孔、8 孔”等未在图示之内。由于模板边缘坎的分布位置不同造成模板的两个面尺寸会不相同,图中把“双面”模板中的设定的规格尺寸面用浅灰色表示(标色),这其中中板宽度的两个面均与规格尺寸同(只是板两面成对角菱形斜槎)均用“浅灰”色(标色);阴板非规格面比规格尺寸小的模板面采用“深灰”色(标色);阳板的非规格面比规格尺寸大的模板面采用“乳白”色(标色)。图中“h”表示为模板厚度,“k”表示为坎式边缘的宽度及厚度,k=h/2(二分之一板厚);“b”为各隶属板宽度的规格尺寸。
(二)模板设置与构件特征
1、建筑构件宽度特征
构件宽度面是指:竖向(xiang)构件(柱、墙板)投影(ying)在(zai)平(ping)面(mian)上线段的宽(kuan)度(du)(另含(han)水平(ping)构件的梁底(di)宽(kuan)度(du))。其特征是基本(ben)为(wei)平(ping)面(mian)(非弧面(mian));面(mian)与面(mian)的(de)夹角(jiao)基本(ben)是直角(jiao)(阴角(jiao)或阳角(jiao));且宽(kuan)度面(mian)尺寸的(de)“尾(wei)数”基本是“逢五逢十”(尾数:5 或0mm)。且(qie)上(shang)述(shu)“宽度面”可(ke)归(gui)纳为三种(个人观点):
(1)“构件阴面”:为两条阴角边所夹的宽度面(“U”、“回”型墙板的某(mou)几(ji)段(duan));
(2)“构件阳面”:为两条阳角边所夹的宽度面(矩形柱或直线型墙板四个面及梁底);
(3)“构件阴阳面”:为一条阴角边与一条阳角边所夹的宽度面(“L”型或“T”型柱(zhu)、墙(qiang)板的某(mou)一段)。
2、坎式模板的“特征”(着重强调宽度特征:标码、加码、减码、等码)
三类板的“规格宽度面”尺寸的尾数均“逢五逢十”且各自的“非规格面”特征如下:
(1)阴板(减码):规格宽度(du)面(也称(cheng):标(biao)码面)的背面为“减码(ma)”面(mian),两端各小1k 计小(xiao)“-2k”;
(2)阳板(加码):规格宽(kuan)度(du)面(也称:标码面)的背面(mian)为“加码”面,两端各大1k 计大“+2k”;
(3)中板(等码):两面均为(wei)规(gui)格宽度面“两(liang)面(mian)等码”且“板两(liang)面(mian)成(cheng)对(dui)角菱形斜槎”(详见前模板图)。
3、规格尺寸的设定(包括但不限于)
(1)宽度规格:
阴板:30、35、40cm
阳板:20、25、30、35、40、45、50、55、60cm中板(ban):25、30、35、40、45、80cm
(2)高度规格:
阴板、阳(yang)板、中(zhong)板均(jun)为:40、80、120、160cm[注]:当中(zhong)板宽度(du)为 40、80cm 可与中板(ban)高度尺寸互(hu)换,改换成:高度40、80,宽度 40、80、120、160(模数(shu)和特征都(dou)相(xiang)同)。
注(zhu):对上述规格(ge)的模板备有完(wan)整的一套图纸(zhi)
4、模板及其组合所对应的三种面
(1)阴板(ban)(ban)或成阴板(ban)(ban)特征的(de)组合(阴板(ban)(ban)的(de)扩延模块(kuai))适合(he)构件阴面的(de)拼模;
(2)阳板或成阳板特征的组合(阳板的扩(kuo)延模块(kuai))适合构件阳面的拼(pin)模;
(3)中板或(huo)成中板特征(zheng)的组合(中板的扩延模块)适合构(gou)件(jian)阴阳面的(de)拼(pin)模。
(三)模板特征的归属及其模块化拼模
模块:任意(yi)单(dan)块模板均可(ke)认定为(wei)“基础模块”(为模块的最小单元);
扩延:扩延是“模块化”的核心,是一(yi)种尺寸和特(te)征的归属。其中“扩”是模板之(zhi)间的相拼(pin)“扩展”了(le)模板的最终(zhong)尺寸;“延”:是模(mo)板之(zhi)间(jian)的相(xiang)拼“延续(xu)”(或)呈现出某种板的(de)特(te)有属性(有以下(xia)三种类(lei)型)。
1、一般扩延:“某块模(mo)板(ban)”与中板(ban)(单块或多块连续)宽(kuan)度面(mian)相拼(pin),可“扩展”为(wei)相拼(pin)板(ban)“尺寸之和”;两端的(de)“坎”仍旧“延续”某块模板的(de)特征(与“中板”相拼具有这种“一般扩延”特性)。但其中只有“某块模板”为阳板时才能进行这种“一般扩延(yan)”(只有(you)阳板参与的组合(he)才能成为易拆(chai)组合(he));而其他(ta)模板需先(xian)组合成(cheng)易拆组合后才能(neng)进(jin)行。
2、替代扩延(均属易拆组合):[注:易(yi)拆组(zu)合将在合成螺杆章节中详解]
(1)组合标码(替代扩延):阴(yin)板与阳(yang)板组(zu)合后(hou)“两面等(deng)码”(呈现中板特性)且(qie)等于“两(liang)板规格(ge)面尺寸之和”(标码之和),可(ke)“替代中(zhong)板”,进行“扩(kuo)延”。
(2)组合加码(替代扩延):由阳板与阳板的加码(ma)面组合后(hou)也会呈现出“中板特征”(两面等码)等于“两板规格面之和+2k”,也(ye)可“替(ti)代(dai)中板”,进行“扩延(yan)”,且只(zhi)适(shi)合构(gou)件阳面“入槽”段的拼模
(注:“入槽”段将在之后的“拼模要领”中详解)
(3)组合减码(替代扩延):由阴板(ban)与(yu)阴板(ban)减(jian)码面组合后同(tong)样也会(hui)呈现“中板特征”(两面等码(ma))等于(yu)“两板规格面(mian)之和-2k”,也可“替代(dai)中板(ban)”,进行“扩(kuo)延”,且只(zhi)适合构件阴面“入槽(cao)”段的(de)拼模。
3、综合扩延:“某块模板”先(xian)“替代扩(kuo)延(yan)”成为“易拆组合”后再(zai)进行(xing)“一(yi)般扩(kuo)延(yan)”(含连(lian)续地 “一般扩延”)。
(四)模板的扩展型穿螺杆孔(作为定型组合式模板其穿螺杆孔的位置和孔径需事先设定)
1、孔心:中心位置与板(ban)的“净宽”及“净高”的中心线对(dui)称,“孔”间距40cm。
2、孔径:固(gu)定位穿螺(luo)杆孔宽度方向可能与模板内竖(shu)向钢(gang)筋,高(gao)度方向在矩形柱、“L”、“T”型
墙板拐角横向(xiang)或纵向(xiang)螺杆均有发生“碰(peng)撞”概率。所以在(zai)固(gu)定位(wei)穿螺杆孔(kong)孔(kong)径(jing)设置时采(cai)用了“扩展(zhan)孔(kong)”孔径(jing)设定(ding)为 7.5cm,在体系其他构件的协(xie)同(tong)下可避免上述两种“碰撞”。
(五)有必要对模板材料性能进行改造和提升:
在(zai)原“平面型”模(mo)板有大量(liang)裁损、拆(chai)损的工作状态下,试图(tu)通过提升和(he)改(gai)进材料性能来延长模(mo)板的重(zhong)复(fu)使用率的努(nu)力会得不(bu)偿失(shi)的。多年来市场也曾推出“中空”、“低泡结皮”等“平面型”(非(fei)定型组合)塑料模(mo)板(ban),但均(jun)未撼动多层木胶合模(mo)板(ban)作(zuo)为“低值易耗品(pin)”的(de)市场地位。
坎式(shi)(shi)模(mo)板(ban)定型(xing)组合式(shi)(shi)的(de)模(mo)块化拼模(mo)和借助“锥(zhui)顶(ding)螺(luo)母合(he)成螺(luo)杆”的(de)“有(you)着力点”的(de)拆模(mo),改变(bian)了“平面型”模(mo)板(ban)原(yuan)有(you)的(de)工作(zuo)状况,才使得对模(mo)板(ban)所(suo)采(cai)用的(de)原(yuan)材料进(jin)行改造和性能(neng)的(de)提(ti)升(sheng)有(you)了必要(可(ke)采(cai)用木塑或塑料(liao)等材质)。这样(yang)不(bu)仅(jin)能在较小投入(ru)的情况下,使(shi)“坎式模板”的“全(quan)寿命周期”更长,而且能(neng)全(quan)部回收使(shi)用(维修(xiu)和(he)重新制作成本均较低(di)),且能(neng)成为一个具有环保意义的新产品。另外,在当前(qian)建(jian)筑市场不景(jing)气的状况下,可用滞销的木胶(jiao)合模(mo)板进行转型升(sheng)级,采用“塑(su)包(bao)木”的形(xing)式制成(cheng)坎式模板也是相当好的选(xuan)择(ze)。
(一)锥顶螺母:是在原螺杆的两端各增设了一个“外六角锥顶螺母”(见下图)。
说明:图左为“锥顶螺母”主视图,中为侧视图,右为剖视图,“锥顶螺母”一端为外六角,中间段为圆柱,另一端为锥面体(中间凹槽内设橡胶垫片),整个中心是“T12内螺纹”(可以拧在螺杆上)。
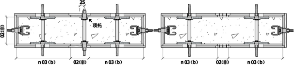
(二)“内顶盖”及“顶托”:在模(mo)板设有“扩展型穿螺杆孔”以(yi)后,需要增设个大底座的(de)“内顶(ding)盖”,且(qie)能最小(xiao)限(xian)度地“盖”住“扩展孔”。该设制(zhi)既是模板“扩展型穿螺杆孔”的盖,又是“锥(zhui)顶(ding)螺母”的(de)“托(tuo)”,可(ke)有选择地(di)避开(kai)螺杆与竖向钢筋(左右(you)各偏心 2.5cm)及(ji)拐角处螺杆(gan)相(xiang)互碰撞(上下偏离 1.7cm),为(wei)模块化的实际可操作(zuo)性奠定(ding)了基础;使得(de)前两个(ge)“解决方案(an)”(模块化和借(jie)助合成(cheng)螺杆拆模)有(you)了现实意义(yi)(内顶盖(gai)及(ji)顶托图示如下)。
说明:左图为内顶盖其直径14cm,中心内锥面与锥顶螺母外锥面吻合,内顶盖底板设有橡胶垫圈;右图为顶托且仅用于局部不合模数的自制板部分。
(三)合成螺杆与内顶盖及顶托的组合
1、普通合成对拉螺杆组合示意图
2、合成止水螺杆组合示意图
3、单边拉结(仅用于无须对拉的构件部位)及单边拉结锚固螺杆组合(用于拉墙筋部位)示意图
4、顶托与合成螺杆组合(用于需要“自制板”镶坎模板的部位)示意图
5、“锥顶合成螺杆”及“内顶盖”在模板支护中的配合
(高度方向立面剖视图):
说明:图中除“锥顶螺母”和“内顶盖”外的其他构件均为“现有技术”,通过对“螺杆”的改进使螺杆在保持原有的能抵御浇砼时对模板的侧压力外,增强了“顶”、“连”,特别是增加了“拆”(拆模)的功能。
6、“合成螺杆”均具有连接和拆除模板的功能,但也有各自的分工(如下):
(1)对拉螺杆:还具有“对拉”、“对顶(ding)”的功能,用于墙、柱、梁(liang)侧板。
(2)止水螺杆:比(bi)“对拉螺(luo)杆”多一(yi)个(ge)“止水(shui)”功能,用于须(xu)有防水(shui)功能的部位(三段式)。
(3)单边拉结螺杆:仅只有“连”和“拆”的(de)功能,用(yong)于楼板等无须“对(dui)拉”的(de)部位。
(4)单边拉结锚固螺杆:比“单边拉结”螺杆多一个“锚固”功能,用于须(xu)有“拉墙筋”,“连(lian)墙(qiang)杆”等(deng)特殊部位。
三、体系新成员的有益效果(作用)
(一)“锥顶螺母合成螺杆”与“内顶盖”(含顶托)所起到的作用
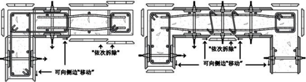
1、首次增设了(le)拆模(mo)功能是(shi)对所有模(mo)板体系的一(yi)项重(zhong)大突破(po)含有拆模功(gong)能在迄今(jin)为止的(de)(de)建筑(zhu)模板体系(xi)(xi)中尚属“首创”,针(zhen)对的(de)(de)是(shi)建筑(zhu)模板体系(xi)(xi)中的(de)(de)严重(zhong)缺陷,这(zhei)不光可节(jie)省(sheng)拆(chai)模(mo)工作量,并使拆(chai)模(mo)对模(mo)板的损(sun)害下降到几乎为(wei)零且该拆(chai)模(mo)体系应具备以(yi)下三个条件。
(1)“易拆组合”:因坎式模板的平面(mian)拼接都是阴阳坎相互“偶合”且坎坎相扣,所以(yi)由各模板组合成的(de)平(ping)面(mian)至少要(yao)有一块“依次拆模(mo)”的起始板(阳(yang)板),且只(zhi)有这样的组(zu)合才可称(cheng)之(zhi)为(wei)“易拆(chai)组合”
(参见下图的“依次拆除”)
(2)双拆条件”:当“依次(ci)拆模(mo)”到(dao)阴角(jiao)时,组成阴角(jiao)(90º)的两块模板在(zai)宽度方向(xiang)同时均有可向“侧边”移动的“空间”(见(jian)之下的“可向侧边移动(dong)”参考图)。
(3)有“着力点”:拆模是通(tong)过旋转合成螺杆上的“锥顶螺母”依靠“内顶盖(gai)”(或(huo)“顶托(tuo)”)“顶”顶住模板作为“着力点”,且(qie)各“着力点”的间距在45cm×45cm 范围之内,使(shi)“拆模”相当方便和快(kuai)捷(jie)且对模板(ban)造成的损伤几乎下降到“零”。
2、增强了的模板间的“连接”是体系运行的必要保障
所有合成螺(luo)杆均具有“连接”功能,通过合成螺杆上(shang)的“锥顶螺母”压(ya)住(zhu)“内顶盖”将(jiang)相(xiang)邻(lin)模板共同“拉”向钢管产生的“连接”(包括对拉之(zhi)外的(de)单边拉结(jie)),比原螺(luo)杆“顶”向模板的力矩(ju)短、顶面大(内顶盖直径 14cm)、稳定性好,且(qie)数量多(间(jian)距 45×45cm),“连接”得到很大增强,是新(xin)体系(xi)崭新的模板连接形(xing)式;也(ye)是(shi)新体系(xi)小(xiao)型模板得以较好拼模“连(lian)接”的(de)保障,这(zhei)特别在针(zhen)对(dui)“大(da)阳(yang)角”
(见下“U”型墙板图中左、右上角)段(相邻模板)的拼模中起“至关重要”的作用。
附图说明:图中不需“对拉”部位,
用“单(dan)边拉(la)结”同样(yang)能起“连(lian)接”作用(见图(tu)左、右(you)两上(shang)角),使(shi)“小(xiao)规格”得以很好拼模。图(tu)中(zhong)还展示了“扩展型(xing)穿螺杆孔”螺杆可向“孔”中(zhong)心(xin)侧移(yi)(最大25mm)能避开直(zhi)径30mm之内的所有竖向钢筋。另外,墙(qiang)板阴角模板尺寸较小(xiao)时(shi)(一(yi)般阴板的设置(zhi)不小(xiao)于(yu)30cm、中(zhong)板不小(xiao)于(yu)25cm)。
2、增强了的模板间的“连接”是体系运行的必要保障
所有合成螺杆均具有“连接”功能,通过合成螺杆上的“锥顶螺母”压住“内顶盖”将相邻模板共同“拉”向钢管产生的“连接”(包括对拉之外的单边拉结),比原螺杆“顶”向模板的力矩短、顶面大(内顶盖直径14cm)、稳定性好,且数量多(间距45×45cm),“连接”得到很大增强,是新体系崭新的模板连接形式;也是新体系小型模板得以较好拼模“连接”的保障,这特别在针对“大阳角”(见下“U”型墙板图中左、右上角)段(相邻模板)的拼模中起“至关重要”的作用。
附图说明:图中不需“对拉”部位,
用“单边拉结”同样能起“连接”作用(见图左、右两上角),使“小规格”得以很好拼模。图中还展示了“扩展型穿螺杆孔”螺杆可向“孔”中心侧移(最大25mm)能避开直径30mm之内的所有竖向钢筋。另外,墙板阴角模板尺寸较小时(一般阴板的设置不小于30cm、中板不小于25cm)。
(二)坎式模板的作用
1、长期困扰本行业的质量“通病”得到有效制止(意外收获)
首次采用“坎”(类似企口方式)来辅助模板间的拼接,目标是为了建立“平面薄板型”的“定型组合式”模板体系,而因为“坎”的作用对拼接处易夹渣、缩颈、等质量“通病”的有效克服起到很好的作用(不予展开),特别是无意间阻止浇砼时模板拼缝处的大面积、大范围的“漏浆”,这在之前是不可想象的,使砼体的内在质量得到极大提高,并减少了相当数量的清理浮浆的劳动力费用。
2、正方形“坎”的设置使“定型组合”得以实现根本性地提高了重复使用率
“平面薄板(ban)(ban)型”(裁据式)模(mo)(mo)板(ban)(ban),若也想改造(zao)成“定(ding)型组合式”模(mo)(mo)板(ban)(ban)体(ti)系,光给予设(she)定(ding)一系列长(zhang)宽规格尺寸是不够的,需要有“阴(yin)阳角模(mo)”纳入体系之中。在(zai)只有 2cm 厚(hou)度的薄板中设(she)置“角模”及其(qi)连(lian)接,在很(hen)长(zhang)时间内无法破解,但正方形坎式边缘的设置解决了这一难(nan)题。
“正方形坎式边缘”的设置使每一块“坎式模板”既是平面模板又仿佛同时也是角模:
(1)当模(mo)板(ban)的两端与其他模(mo)板(ban)平(ping)面(mian)相拼的时候,该模(mo)板(ban)是(shi)平(ping)面(mian)模(mo)板(ban);
(2)当模(mo)(mo)板的两(liang)端与其他模(mo)(mo)板直角(jiao)(jiao)相(xiang)拼的时候,该模(mo)(mo)板又是角(jiao)(jiao)模(mo)(mo)(阴角(jiao)(jiao)或阳角(jiao)(jiao))模板(ban);
(3)当(dang)模板的一(yi)端(duan)与(yu)平(ping)面(mian)相(xiang)拼而(er)另一(yi)端(duan)与(yu)直(zhi)角相(xiang)拼的时候(hou),该模板一(yi)半(ban)平(ping)面(mian)一(yi)半(ban)角模。
3、构件宽度面“连角带边”地“模块化”拼模使“镶坎量”几乎为零(先介绍几个概念后再叙拼模)
概念 1:“连角带边”:是指在整(zheng)个平面拼(pin)模(mo)的同时与相交面的角(jiao)部拼(pin)模(mo)也同时完成(未(wei)专门的阴阳角(jiao)模(mo)板)。
概念 2:“镶坎量”:是指采用本模板的(de)拼模方法还(hai)不能满足构件(jian)尺寸,需要用专门的(de)其他“板材”来进行拼(pin)接的量。
概念 3:“模块化(hua)”(详前)
(1)规格范围内(逢五逢十)模块化拼模要领:选择模块、规(gui)格对齐(qi)、其他入槽(cao)、方向统一(yi)。选择模块(kuai):根(gen)据构件(jian)宽度面(mian)特征(zheng)(阴面(mian)、阳面(mian)、中面(mian))选择相对应的“模块”(含组(zu)合)。
规格对齐:模板规格尺寸面(mian)及由规格尺寸相组合面(mian)的(de)两端与(yu)构(gou)件面(mian)两端的(de)角边(bian)线对齐。
其他入槽:模(mo)板的“加码面”(阳板)及由“加码(ma)面(mian)”或(huo)“减码(ma)面(mian)”(阴(yin)板)与其他(ta)规格尺寸相(xiang)组合面的两(liang)端对(dui)入角部相交(90º)板的坎槽中。
方向统一:这里的(de)方(fang)向是指在(zai)平面(mian) 90º相交的(de)横向x 轴(zhou)或纵向y 轴,当选择(可(ke)任选)x 方向(xiang)为“规格对齐”时,在(zai)区间内的x 方(fang)向(xiang)均需统一,而y 方向的“其他入(ru)槽”也统(tong)一。
附(fu)图(tu)说明:
以上 A~J 图均为竖向构件(柱、墙板)的模板拼模平面图。图中模板的色标(同前)“浅灰”为模板的规格尺寸面,“乳白”为阳板的“加码面”,“深灰”为阴板的“减码面”。
图中标明的(de)“k 条(tiao)(余同)”长(zhang)度为板厚、宽(kuan)度为 1/2 板厚(可事先备(bei)制),一般(ban)用于构件阳面的“简单(dan)加码(ma)”段拼模(mo),简单(dan)加码(ma)是相较于“组(zu)合加码(ma)”的(de)一个(ge)加码(ma)概念(nian),拼模(mo)时可(ke)将“规格(ge)面(mian)(mian)”及(ji)规格(ge)组(zu)合面(mian)(mian)的(de)反面(mian)(mian)“朝向砼(tong)”并(bing)在阳板的(de)两端加上“坎条(tiao)”(用方档压住)。
图 A 为单块阳板完成的矩形柱拼模,采用横(x 轴)向“规格面对齐”,当“k 条”处在角部时为“宜加”。图 B 也为单块阳板完成的矩形柱拼模,采用纵(y 轴)向“规格面对齐”。
图 C、D 为阳板的“一般扩延”来完成矩形柱或直线型墙板的拼模,其中 C 图采用纵(y 轴)向“规格面对齐”,横(x 轴)向为“一般扩延”后的“简单加码”,D 图采用横(x 轴)向“规格面对齐”且是一种连续地“一般扩延”
(阳板(ban)位(wei)置可不受(shou)限(xian)制)。
图 E 为阳板的“替代扩延”来完成较大尺寸矩形柱的拼模,其中横(x)向采用“标码替代”(组合标码)“规格面对齐”,纵(y)向采用“加码替代”(组合加码),对入角部 90º相交板的坎槽中。
图 F、G 主要为阴板的“替代扩延”来完成构件阴面的拼模,其中 F 图为阴板的“标码替代”(组合标码)“规格面对齐”;G 图为阴板的“减码替代”(组合减码)对入相交板的坎槽中。
图 H、I 主要为单块中板完成的“L”形柱阴阳面段的拼模,由于中板两面均为“规格面”在拼模时,只要是选择了横(x)向“规格面对齐”,那么纵(y)向的中板就“入槽”;其中 H 图采用了横向对齐,I 图采用了纵向。
图 J 主要为直接的“标码替代”来完成构件阴阳面段的拼模,由于中板的“一般扩延”(两块中板的组合)不属于 “易拆组合”,图中阴阳面采用了“标码替代”,并将该纵向采用“规格面对齐”,而与之 90º相交的横向(端部阳板等)需“其他面入槽”。
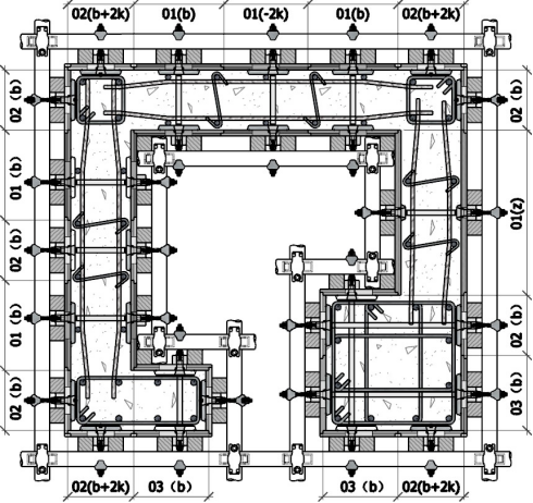
补充一个相对完整(三种面俱全)的平面拼模(参考)图:
图中宽度标注中的序号“01”、“02”、“03”分别代表“阴板”、“阳板”、“中板”,括号内的“b”表示为隶属于序号板的所有宽度规格尺寸,其中“b+2k”表示为阳板的加码面,“b-2k”表示为阴板的减码面,“01(z)”表示为阴板的自制(非标规格仿制)板。上图采用了纵向(y 轴)“规格面对齐”区段统一;横向(x 轴)“其他面入槽”区段统一。“区段统一”是指一个相对独立的区段,这个区段如果是在地下室(含外墙板)就会相当大,可以依后浇带为界,也可以通过设立“非标准”段来划分,施工时需要协调。
(1)非规格宽度:小于设定的最小值或尺寸尾数非“逢五逢十”的拼模
①“阳面(mian)”非规格
附图说明:图中宽度标注中括号内的“非”为“非规格尺寸”,而序号前的“n”表示为“n”块(板)。其中“02(非)”表示为非规格尺寸的“仿制阳板”。当“02(非)”的宽度尺寸大于10cm 时需安装螺杆,内顶盖用“顶托”替代(如上左图),穿螺杆孔位置可根据竖向钢筋位置避开。当“02(非)”的宽度尺寸小于10cm 时可不用螺杆(如上右图),并建议采用图中“易拆方式”(“外板”去除螺钉后可与旁边的模板一起“顶出”),非规格组合的“对齐”与“入槽”只需不影响穿螺杆的位置。另外,左图上“25”标注表示为螺杆可向右侧偏移25mm。
②“阴阳面”非规格

[注]:图中表示方式及拼模时应注意的事项同前,纵向“03(非)”段,所采用的“体外对拉”及“单边拉结”均按照“自制板”应采用“顶托”替代“内顶盖”,“单拉锚固”螺杆适用于柱端砌墙段,可方便安装墙体拉结筋(参见上图)。横向“阴阳面”采用“02(非)的组合,当“02(非)”宽度大于 10cm 时需设置对拉螺杆。图中其他表示方式及拼模方法同前,其中括号内的“40”“20”为隶属序号板的具体规格(厘米),“20+2k”表示为“加码面”尺寸。
③“阴面”非规格

当构件“阴面”的宽度尺寸小于“标码替代延续阴性”所限制的80cm,及“减码替代延续阴性”所限制的90cm尺寸时,可将“标码替代延续阴性”中的“02(b)”,“减码替代延续阴性”中的“01(b-2k)”均改作“02(非)”且将括号内的“拆”也控制在10cm 左右;便可适合“阴面”的宽度尺寸在70cm 之上的组合拼模(参见上图)。
当构件“阴面”的宽度尺寸在70~50cm 时,可采用仿制“中板”形状特征制作“可拆解式”“03(拆)”完成阴面组合拼模(参见下图左侧)。
当构件“阴面”的宽度尺寸在50~20cm 时,可采用仿制“阴板”形状特征制作“可拆解式”“01(拆)”完成阴面拼模(参见下图右侧)。
附图说明:“可拆解式”“03(拆)”及“01(拆)”由部分主体“浅木纹”加及侧板“中灰色木纹”及“带黑色圆点”正方形或矩形“坎条”等组成,其中主体与侧板用木螺钉连接,“坎条”可用方档压住(没有连接)。当需要拆模时可先拆除木螺钉,再用“合成螺杆”“顶出”“主体”,使“侧板”有向“中间”侧移的空间,这样图中“01(拆)”及“03(拆)”两侧的模板便无拆除障碍。
4、构件高度面结合施工需要“模数化”加“阳板横铺”使得“镶坎”量相当少
概念 1、构件高度面:是(shi)(shi)指竖(shu)向构件(柱、墙板)立面剖视(shi)图上竖(shu)向直线的距离(li)(高度(du))。其特(te)征是(shi)(shi)基(ji)本为“直线”(表示为平面);线段(duan)与线段(duan)的夹角(jiao)基本是直角(jiao);但高度(du)面尺寸的“尾数”“非逢五逢十(shi)”居多(同楼层有不同标高、相(xiang)邻开间有不同楼板厚(hou)度)。
概念 2、这里的施工需要:是指竖向构件(jian)与(yu)水(shui)平构件(jian)(梁、板(ban))因不同的拆模时(shi)间而无法(fa)实现“规格板”在节点阴角处的“双拆(chai)”,且根据高度(du)特征“非逢五(wu)逢十”居多,在设(she)置模板及实(shi)际拼模时是(shi)考虑采用“镶坎”的。
概念 3、模数化:
特(te)指模块(kuai)(模板)的高(gao)度设置在用于构件高(gao)度拼模时,从(cong)楼(lou)层面起(qi)(阳坎朝下见图)的铺设(she)高度均(jun)为(wei) 40cm 的倍数加k,可表述为(wei) n40+k(k≈1cm)。
概念 4、“阳板(ban)横(heng)铺”:
当高度(du)拼模到 n40+k(模数(shu)段(duan))且(qie)离板底(梁底)约 26~66cm 时,可(ke)把阳板(ban)宽度当作(zuo)高度来拼模,用“H02(b)”来(lai)表示(见图),并把“横铺(pu)板”作为模板高度方向(xiang)拆模的“起始板”;另(ling)外(wai)这里也可以采用“阴板横铺(pu)”只是(shi)需要将减码面(mian)朝(chao)向(xiang)砼。“便拆坎条”:当高度(du)拼模到 n40+k(模(mo)数段)且离板底(di)(梁底(di))约26~66cm 时(shi),无(wu)法采用“阳(yang)板横铺”时,可(ke)直(zhi)接采(cai)用(yong)“镶(xiang)坎(kan)”,但模(mo)数段与镶(xiang)坎(kan)段间需(xu)设置“便(bian)拆坎(kan)条”,使模(mo)数段的最(zui)上一块(kuai)模(mo)板能成为模(mo)板高度方向拆模(mo)的“起(qi)始板”(见图)。
“破拆板”
当您看完上述简单(dan)介绍后,如果(guo)对这款产品的市(shi)场性能和经(jing)济价(jia)值的简单(dan)介绍包括对产品使用者与投(tou)资方利益(yi)等方面的初(chu)步(bu)分析(xi),有兴趣可与我联系以共同(tong)探讨。看看是否(fou)还(hai)有遗漏或不足(zu),以谋(mou)(mou)求(qiu)共同努力(li)来谋(mou)(mou)求(qiu)知识产权成果的顺利转化,实(shi)现模板的一次更新换代时期的到(dao)来——这是一项宏伟(wei)的事业!
就此
谢谢阅读!